特許図面


ニテコ図研は特許図面作成の際に、図面が発明を的確に表現するものになるよう心掛けています。

■ラフスケッチからでも! お手元にある資料で作図します。

お持ちの資料を元に図面を作成いたします。フリーハンドのラフスケッチからでも作図が可能です。

トレースはただ単にスケッチをなぞったものではなく、図面としてきれいに仕上げたものを納品いたします。

 

 

※ご提供いただく資料の種類によって工数が異なります。

※資料によっては納期が短縮できる場合もありますので、お気軽にご相談ください。

ご提供いただいた資料

作成図面例


特許図面のラフスケッチ

 ラフスケッチ

特許図面の写真資料

写真原稿

資料を元に作成した3DCG

3Dデータ

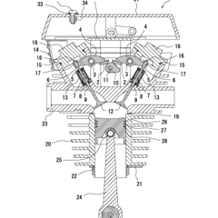
特許図面の作成例

フリーハンドでぶれていた楕円の向きと軸の方向を補正して

作図しています。

写真からトレースした図面

鮮明な写真ですと、より精密なトレースが可能となります。

出願図面のための出張撮影も承ります。

3DCGは背面も正確に作成できます

3Dデータをご提供いただければ、角度を変えた図面も正確に

作成することが可能です。


■積極的にヒアリングを行い、発明意図に沿った図面を作成。

ただ図面を描くだけでは、効果的な図面を描くことはできません。

「この発明はどういった意図があるのか」「構造はどのようになっているのか」を理解することが特許図面を作る上では重要です。

ニテコ図研はお客様とのコミュニケーションを大切にし、積極的にヒアリングを行います。直接のお打合せはもちろん、遠方の場合はメールや電話などで対応。出願内容を理解した上で作図するよう心がけています。

■海外出願のための図面も対応可能

日本国内だけでなく、海外用の出願図面の作成も承ります。例えば米国向けでの図面では「影付け」と呼ばれる作図が必須となっています。

国内での出願図面に影付けを行う作業についても実績がございます。ご検討中の方はぜひ一度ご相談ください。

■機械系図面に強い!

図面の作成には主にAutoCADを使用しています。設計の分野で広く使われているソフトですので機構図面も正確に描画できます。

また、機械製図技能士が在籍していますので工学的な理論を理解した上で図面を作成することが可能です。

※画像はサンプルです。   

■様々な納品形式に対応。オリジナルデータの納品も可能です。

ニテコ図研では多種多様なソフトウェアを駆使してデータの作成を行っております。

2D-CADはもちろん、3D-CADやIllustratorなどのAdobe系ソフトも使用しています。

 

また、出願用の図面データだけでなく、図面作成のオリジナルデータの納品もご要望に応じて納品いたします。

図面内容が同一であれば、オリジナルデータ納品の追加料金はいただいておりません。

 

納品形式について都度対応いたしますので、お気軽にお問い合わせください。

■秘密保持契約とセキュリティについて

当社では、多くのお取引先様と機密保持・守秘義務に関する契約書を取り交わしております。

その有無に関わらず、厳重なデータ管理・情報管理を徹底しております。

また、ご依頼をいただいた案件についてはすべて社内で処理いたしますので、外注・下請けへの情報流出もございません。

▶その他のサービスを見る


特許図面・意匠図面 3次元CADを利用した正確な図面を作成いたします。意匠写真、CG意匠図面も承ります。
データ変換 図面からPDF形式への出力やベクトルデータの変換などあらゆる図面のデータを編集・変換
CAD研修 Autodesk社認定のトレーニングセンターを運営。実務経験豊富な講師が指導いたします。
テクニカルイラスト テクニカルイラストレーション1級技能士が在籍。取扱説明書などは弊社にお任せください。
3DCG 20年以上の実績とノウハウでお客様が3Dに求める可能性を実現いたします。
CADカスタマイズ お使いのCADに合わせて専用のアプリケーションを開発いたします。お気軽にご相談ください。