お持ちの資料を元に、整合性のとれた図面を作成いたします。
設計図面や各種データがお手元にない場合でも、現物をお預かりし寸法を計測することで意匠図面を作成可能です。
意匠図面では、形状の整合性が求められます。ニテコ図研にはテクニカルイラストレーション1級技能士、知的財産管理技能士など
各種資格を取得したスタッフが常駐しております。
確かな技術と知識で、お客様の意匠を守る高品質の図面を提供いたします。
※ご提供いただく資料の種類によって工数が異なります。
※資料によっては納期が短縮できる場合もありますので、お気軽にご相談ください。
「出願にはどういった意図があるのか」を理解することが意匠図面を作る上では特に必要不可欠です。ニテコ図研はお客様へ積極的にヒアリングを行い、出願の意図を理解した上で作図を行います。直接のお打合せはもちろん、遠方の場合はメールや電話などで対応。
出願内容に対し、より適した表現がある場合に提案を行うなど、よりよい図面にするための努力は惜しみません。
意匠図面でお悩みの場合はぜひご相談ください。
国内だけでなく、海外への出願図面作成も承ります。アメリカの図面では「影付け」と呼ばれる作図が必須となっています。
日本用の出願図面にこうした影付けを行う作業についても承ります。
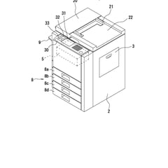
25年以上の実績を持ち、これまで様々な物品の意匠図面を作成いたしました。衣服や靴などの服飾品、容器ボトルなど有機的な形状のものから、自動車部品など工学的なものまで作成の経験がございます。
また、工作機械や家具など大きなものについても、対応いたします。
※画像はサンプルです。
弊社の専門サービスでは、建築物の意匠図面に対応した高品質な図面を作成します。オートデスクのRevitを活用した業務にも対応し、3Dモデルから正確な意匠図面を提供します。建築の細部にまでこだわった正確な図面で、スムーズな意匠登録をサポートいたします。経験豊富なスタッフが、迅速かつ丁寧に対応。大切な建築デザインを守るために、ぜひ当社の図面作成サービスをご活用ください!

ニテコ図研では多種多様なソフトウェアを使い、データの作成を行っております。
2D-CADはもちろん、3D-CADやIllustratorなどのAdobe系ソフトも使用しています。
また、出願図面データだけでなく、オリジナルデータの納品もご要望に応じて対応いたします。
図面内容が同一であれば、オリジナルデータ納品分の追加料金はいただいておりません。
データ納品だけでなく用紙での納品も実績がございます、お気軽にお問い合わせください。
新たに3次元モデルを作成し、意匠図面用にCG画像を作成いたします。既存の3次元データを活用した作成にも対応しております。
CGでの図面作成は、3次元形状を任意に変形してご希望に応じた形状にすることができます。バリエーションの多い出願内容でも
スムーズに図面を作成できます。
※画像はサンプルです。
弊社では、多くのお取引先様と機密保持・守秘義務に関する契約書を取り交わしております。
その有無に関わらず、厳重なデータ管理・情報管理を徹底しております。
また、ご依頼をいただいた案件についてはすべて社内で処理いたしますので、外注・下請けへの情報流出もございません。
▶その他のサービスを見る